Pressure Reducing Cartridge
Accessory Valves
- Control pressure to individual devices.
- For use in double or single acting systems.
- Direct acting, poppet style, adjustable, cartridge construction.
- Cartridge may be installed directly into your manifold.
- Model 70-5437-70 set the pressure range from 750 to 4500 psi. Repeatability ± 7%
- Model 70-5437-71 inlet pressure <3000 psi, 150-900 psi outlet pressure, >3000 psi, 300-900 psi. Repeatability ± 10%
- Maximum inlet pressure 5,000 psi.
- Pressure Reducing Cartridge is interchangeable with the Pressure Limiting Cartridge in the same mounting cavity.
- Two-port design eliminates need for third fluid line to drain bypass flow (internal leakage) back to system reservoir.
- Recommended Filtration: 25 Micron (NOM) /40 Micron (ABS) (minimum).
OPERATION: The Pressure Reducing Valve (PRV) is a Normally Open (N/O) pressure control device. The valve remains open and fluid flows freely to downstream devices (from the valve to devices) until the pressure in the valve reaches the pressure (adjustable) set-point. At the set-point pressure, the valve closes blocking further flow and pressure rise to the downstream devices. If there is a sufficient down stream pressure loss (from the valve to devices), the PRV will re-open, allowing flow to pass through the valve until the pressure again reaches the valve set-point.
* Maximum Inlet Pressure for PRV is 5,000 psi.
| Model No. | Inlet Pressure | Set Pressure Range | Repeatability |
|---|---|---|---|
| 70-5437-70 | 5000 psi Max | 750 - 4500 psi | ± 7% |
| 70-5437-71 | < 3000 psi / > 3000 psi | 150 - 900 psi / 300 - 900 psi | ± 10% |
| Model No. | A | B |
|---|---|---|
| 70-5437-70 | 4.8 | 3.01 |
| 70-5437-71 | 5.6 | 3.74 |
| Model No. | Product Type |
|---|---|
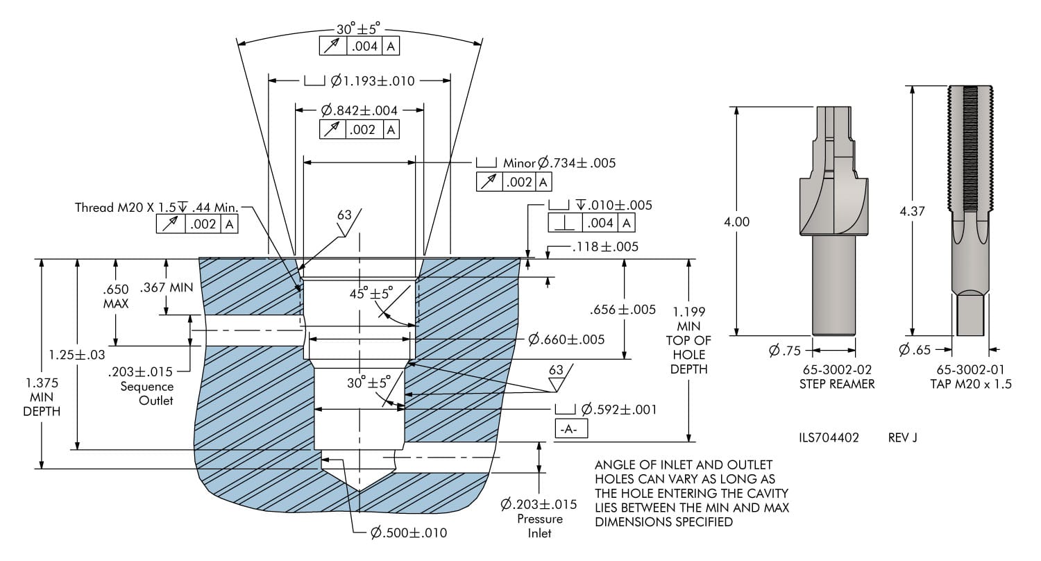
| 62-7050-00 | Multi-Step Carbide Cavity Contour Tool |
You have questions? WE HAVE ANSWERS!
Use the contact button below to be connected with one of our team of experts.