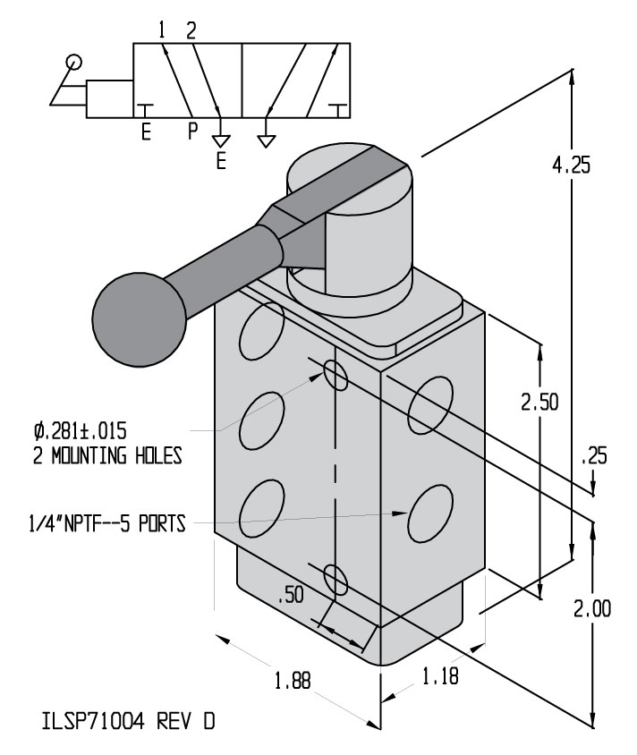
5/2 Manual Valve Pneumatic Valves Catalog Section Operating Pressure Range: 0 – 150 psig Ambient Temperature Range: 0° – 120° F Dimensions You have questions? WE HAVE ANSWERS!Use the contact button below to be connected with one of our team of experts. CONTACT US