Language: EN

Integral Accumulator

Low Pressure Pallet Fixture Accessories

Complete 2-Hand Low Pressure Decoupling Solution
Automatic Shutoff Valve Decouplers for Single and Double Acting Systems

  • Decouplers are a complete, self contained package for disconnecting a fixture from its power supply while machining.
  • Everything is there for you: Quick connect coupling, filters, accumulators, pilot operated check valve and over-pressure relief valve!
  • Robust pilot operated check valve with 1 to 5 ratio of pilot to check pressure for proven long term reliability.
  • Internal 25 micron filters for added protection of pilot operated check valve thru ports A1, A2, A3, A4 & C1. Additional filtration provided at port B1. (Filtration for A3, B3 or A4, B4 available by purchasing Vektek filter block L7-0842-05 or L7-0842-06 depending on mounting orientation.)
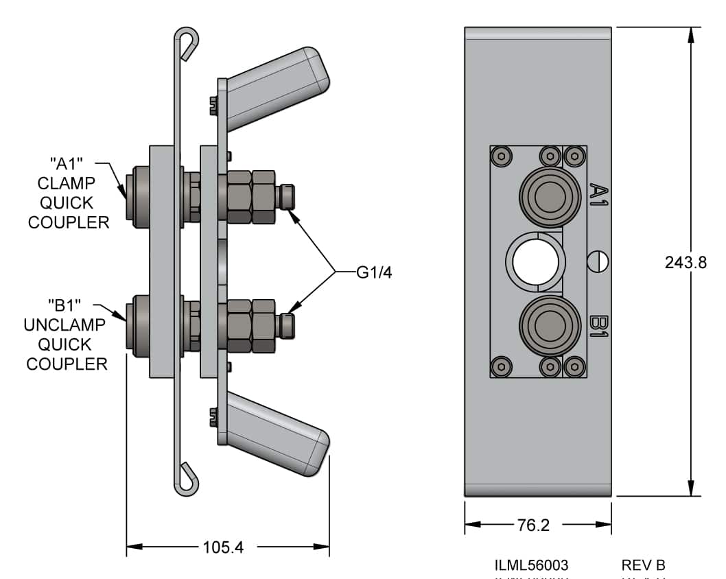
  • G1/4 ports and manifold mounting (bottom and rear) connections on all models.
  • Single acting pallet circuits require 2 hoses to the operating handle for pressure release.
  • For use with Operating Handle Model No. L5-6005-04.
  • Customers that have previously bought a decoupler can purchase a new cover for their old decoupler. New orders of decouplers will come with cover.
  • 100 lb. Tensile Strength.
Model Number A For Use With Decoupler Models
L5-6008-03 8.9 L5-6005-42 or L5-6005-43
 
  • Maximum working pressure – 10 MPa.
  • Provides a fast, positive connection to the decoupler.
  • Ergonomic design reduces operator fatigue.
  • The Two – Handed Handle may be used with the optional Handle Docking Module to assure the hoses are disconnected from the pallet before it is shuttled into the machine.
Model No.Pressure RangeAccumulator Capacity
L5-6005-4030 - 100 Bar / 3 - 10 MPa62 cm³
Model No.
L5-6005-04
Model No.A
L5-6007-0312.7
Model No.DescriptionPorts
L7-0048-81FILTER, INLINE, G 1/4, 25 MICRONIn-Line
L7-0842-05FILTER, SANDWICH, SUBPLATE, PALLET DECOUPLER, BOTTOM MOUNTBottom A4 & B4
L7-0842-06FILTER, SANDWICH, SUBPLATE, PALLET DECOUPLER, REAR MOUNTRear A3 & B3

You have questions? WE HAVE ANSWERS!

Use the contact button below to be connected with one of our team of experts.